WARNINGS
Check the sidewall of the tire prior to inflation. If there are any cracks, bumps or similar damage, do not attempt to inflate the tire. This could cause personal injury.
This could cause personal injury if the tire bursts.

1. Open the lid of the kit.
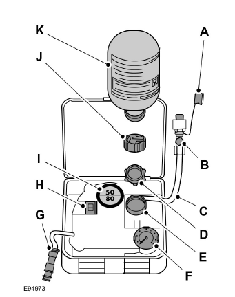
2. Peel off the label I showing the maximum permissible speed of 50 mph (80 km/h) from the casing and attach it to the instrument panel in the driver's field of view. Make sure the label does not obscure anything important.
3. Take the hose C and the power plug with cable G out of the kit.
4. Unscrew the orange cap D and the bottle lid J.
5. Screw the sealant bottle K clockwise into the bottle holder E fully tight.
6. Remove the valve cap from the damaged tire.
7. Detach the protective cap A from the hose C and screw the hose C firmly onto the valve of the damaged tire.
8. Make sure that the compressor switch H is in position 0.
9. Insert the power plug G into the cigar lighter socket or auxiliary power point.
See Auxiliary Power Points
10. Start the engine.
11. Move the compressor switch H to position 1.
12. Inflate the tire for no longer than 10 minutes to an inflation pressure of minimum 1.8 bar (26 psi) and a maximum of 3.5 bar (51 psi). Move the compressor switch H to position 0 and check the current tire pressure with pressure gauge F.
Note:When pumping in the sealant through the tire valve, the pressure may rise up to 6 bar (87 psi) but will drop again after about 30 seconds.
Note: After you have switched the compressor off, you may hear air escaping from the damaged tire. This is normal and can be ignored provided that the specified minimum tire pressure has been reached.
13. Remove the power plug G from the cigar lighter socket or auxiliary power point.
14. Quickly unscrew the hose C from the tire valve and replace the protective cap A. Fasten the valve cap again.
Note: Some residual sealant fluid may drip or spray out of hose C while you are disconnecting it. This is normal.
15. Leave the sealant bottle K in the bottle holder E.
16. Make sure the kit, the bottle lid and the orange cap are stored safely, but still easily accessible in your vehicle.
The kit will be required again when you check the tire pressure.
17. Immediately drive approximately two miles (three kilometers) so that the sealant can seal the damaged area.
WARNING
If you experience heavy vibrations, unsteady steering behavior or noises while driving, reduce your speed gradually and stop your vehicle as soon as it is safe to do so. Recheck the tire and its pressure. If the tire pressure is less than 1.3 bar (19 psi) or if there are any cracks, bumps or similar damage visible, do not continue driving with this tire. This could cause loss of vehicle control.